|
Артикул: 215 05 Производитель: Хайтек Гарантия: 1 год
|
Нет в продаже! Последняя цена. |
| |
|
Ваша цена: 0 руб.в т.ч. НДС 22% |
| |
|
Напишите нам на почту: sale@kratonkuban.ru |
Обновление цен 11/01/2026 г. | |
| Бесплатная доставка по Краснодару и пригороду, до терминала транспортной компании, доставим по краю и ЮФО/СКФО платная. Подробнее нажмите здесь |
Звонок или WhatsApp:
| |
| ||
ТЕХНИЧЕСКИЕ ХАРАКТЕРИСТИКИ
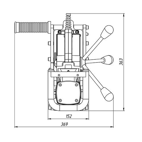
Габариты
315х360х530 мм
Масса без оснастки
20 кг
Частота вращения без нагрузки I
250 об/мин
Частота вращения без нагрузки II
450 об/мин
Ход подачи сверла
140 мм
Мощность двигателя
1150 Вт
Напряжение питания
220В.
Диапазон сверления спиральным сверлом
1-13 мм
Диапазон сверления корончатым сверлом
12-36 мм
Рельсосверлильная машина МРС-65 - предназначена для сверления отверстий под стыковые болты и соединители в сырых и объемно-закаленных рельсах типа Р50 и Р65. В отличие от бензиновых рельсосверлильных станков - МРС-65 не выделяет вредных газов при работе и может быть использована в тоннелях и плохо проветриваемых помещениях.
В стандартной комплектации к станку прилагается шаблон-крепление для рельсов Р50, Р65 и Р75. Но также, для рельсосверлильного станка МРС-65 разработано и производится большое количество различных креплений к рельсам узкой колеи и крановым рельсам до КР70 включительно.
Рельсосверлильный станок МРС-65 можно с легкостью переносить и поднимать по лестницам, для сверления, к примеру подкрановых путей, проложенных на высоте. Ни один бензиновый рельсосверлильный станок не сравнится с ним по массе.
Особенности:
- возможность быстрого крепления на рельс сверху,
- питание 1 фазное - 220-240 В
- быстрое сверление рельса с помощью твердосплавных корончатых сверл с напайными пластинами (цикл сверления с установкой и снятием машины занимает меньше 3-х минут)
- малая масса
- большой ресурс и малые массо-габаритные характеристики сверл (до 150 отверстий одним сверлом, при сверлении объемно-закаленных и 25-35 отверстий для упрочненных рельсов на одно корончатое сверло без учета переточки на станке)
Комплектация:
- 1 емкость для подачи СОЖ под давлением,
- 1 ящик,
- 1 комплект ключей,
- 1 опорный кронштейн для сверления рельсов Р50, Р65, Р75
Вам может быть интересно

Количество



















